Внимание: Santreyd — информационный посредник. Товары представлены в рамках параллельного импорта. Изображения и описания носят информационный характер.
+7 (843) 212-61-98

CIMBERIO CIM 30 38 Обратный клапан пружинный CIM 30

Артикул: CIM 30 38 Бренд: CIMBERIO Код: 101 048 810
0
Важная информация для покупателей:

Santreyd является информационным посредником. Товары представлены в рамках параллельного импорта. Изображения и описания носят информационный характер и могут отличаться от оригинала.

Информация о рекламодателе объявление № 1048810 от 22.10.2020 г. ООО "САН&nbps;&nbps;&nbps;
Сведения о рекламодателе предоставляется по запросу Правообладателя и/или контролирующих структур

Цена товара
Цена по запросу
Отправьте запрос, чтобы узнать актуальную цену и условия поставки
Под заказ Сроки поставки уточните у менеджера
Укажите количество:шт

Основные характеристики

Бренд
CIMBERIO
Страна производителя
-
Гарантия
-
Размеры
-
Вес
-
Цвет
-

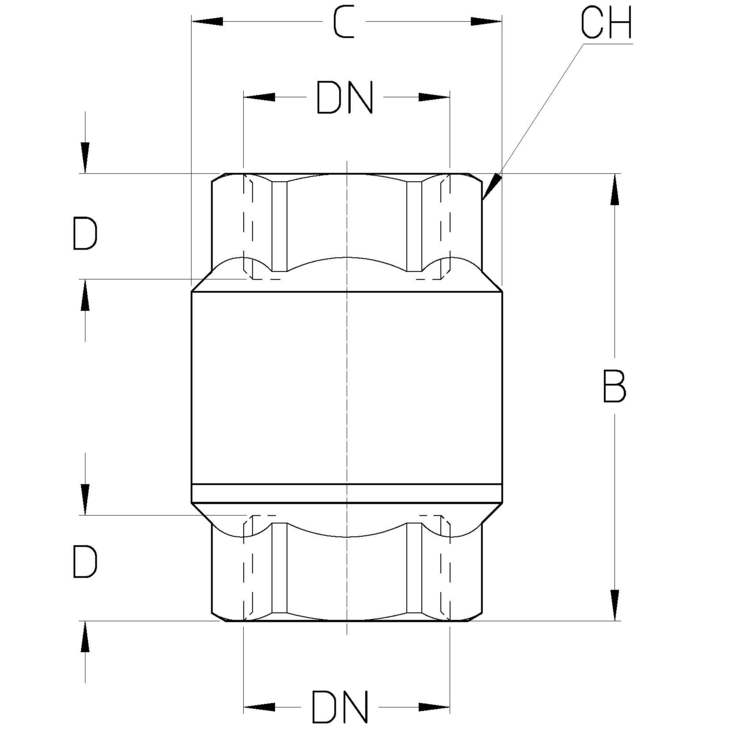
Обратный клапан пружинный CIM 30 Данное изделие было произведено согласно требованиям стандарта менеджмента качества ISO 9001. Все изделия проверены согласно EN 12266-1. Область применения: системы отопления и охлаждения, горячее и холодное водоснабжение, для неагрессивных сред. Гарантия 5 лет. Вы полнен из латуни (EN 12165-CW617N-DW). Номинальное давление: PN20 Рабочая температура: от -10°С до +110°С DN 3/8'' 1/2'' 3/4'' 1'' 1''1/4 1''1/2 2'' 2''1/2 3'' 4'' KV 0,8 2,0 5,0 10,4 21 26 38 108 192 264 Примечание: 1 бар ~ 100 кПа 1 бар = 14,5 lbf/in2 °C = 5/9 x (°F-32) °F = 32 + (9/5 x °C)

DN 3/8'' 1/2'' 3/4'' 1'' 1''1/4 1''1/2 2'' 2''1/2 3'' 4''
Grms. 210 160 240 380 600 920 1360 2505 3440 5115
B 55,5 55,5 62 72 82 96 109 129 141 146
C 35 35 42 50 60 70 83 103 123 160
D 13 14 14,5 17 18 22 23 29 28 30
CH 25 25 31 39 48 55 67 88 100 123
Информация для покупателей:

Все описания товаров составлены на основе открытых данных и технической документации. Изображения товаров носят информационный характер и могут отличаться от оригинала.

Артикул CIM 30 38
Бренд CIMBERIO

Отзывы покупателей

0 на основе 0 отзывов

Вопросы и ответы

Здесь вы можете найти ответы на часто задаваемые вопросы или задать свой вопрос о товаре.

Как можно оплатить заказ?

Оплата товаров производится по выставленому счету нашим менеджером, после оформления заказа. Доступные способы оплаты отображены в «Корзине» в момент оформления.

Отвечен 10 марта 2025

Условия доставки и оплаты

ДОСТАВКА ПО МОСКВЕ И ОБЛАСТИ:
Экспресс‑доставка за один день!

Успевайте оплатить заказ до 9:00 — и в тот же день, до 23:00, мы привезём его при наличии на складе.

Стоимость — 6 500 ₽. Быстро, чётко, без ожидания.

ДОСТАВКА ПО ВСЕЙ РОССИИ
Во все регионы круглый год

Надёжные транспортные компании — СДЭК, Деловые Линии, ПЭК, Байкал Сервис — доставят ваш заказ в любой регион.

Удобные варианты оплаты доставки:

Напрямую перевозчику — по отдельному счёту от ТК.

Через нас — мы включим предварительную стоимость доставки в общий счёт. После упаковки и взвешивания, если тариф изменится, разницу вы доплачиваете напрямую транспортной компании — прозрачно и без скрытых переплат.

Стоимость доставки и упаковки оплачивает покупатель. Сроки — от 10 до 30 календарных дней (зависят от правил выбранной ТК).

СПОСОБЫ ОПЛАТЫ:
QR, картой, переводом

Выбирайте то, что удобно:

  • Онлайн банковской картой — через защищённый платёжный шлюз
  • По счёту — банковский перевод по реквизитам
  • По QR‑коду — быстро и без лишних действий

Оплата наличными и при получении недоступна.

Все заказы принимаются только при 100% предоплате в соответствии с условиями договора.

Гарантия на товар

Гарантия 12 месяцев

CIMBERIO CIM 30 38 Обратный клапан пружинный CIM 30 предоставляется с гарантией 12 месяцев с момента покупки.

Условия гарантии:
  • Гарантия распространяется на производственные дефекты
  • Гарантийный талон должен быть заполнен и заверен печатью продавца
  • Товар должен использоваться по назначению и в соответствии с инструкцией
  • Гарантия не распространяется на повреждения, вызванные неправильной установкой или эксплуатацией
Важная информация:

Гарантийные обязательства выполняются в рамках законодательства РФ о параллельном импорте. Для предъявления претензий по гарантии необходимо обратиться к продавцу.

Цена по запросу
Товар: "Обои виниловые бежевые 0.70 м 919653 RASCH Safrano" добавлен в корзину
Оформить заказ
Товар добавлен в корзину
Оформить заказ
Ваша оценка учтена
Общая оценка товара: 3.5
Вывод сообщения о неверном действии со стороны пользователя
Сообщение об успешном действии: отправлена форма, успешный вход и т.д.
Сообщение об успешном действии: отправлена форма, успешный вход и т.д.